Каталог

Приспособления для крепления деталей в токарном станке

Самоцентрирующие и четырехкулачковые патроны. Трехкулачковые самоцентрирующие и четырехкулачковые патроны с независимым перемещением кулачков, рассмотренные выше, применяются и для закрепления деталей за цилиндрическое отверстие. Область применения тех или других патронов в данном случае определяется в основном признаками, указанными выше. Весьма редко для этой цели применяются двухкулачковые патроны.

цельные цанговая и центровые оправки

Необходимо отметить, что при закреплении детали за обработанное отверстие вместо патронов чаще пользуются оправками, в особенности при небольших размерах отверстий и обработке деталей партиями.

Цельные и цанговые оправки. Самая простая оправка показана на рис. 58, а. Средняя (рабочая) часть этой оправки — конус с очень небольшой конусностью, обычно около 1/2000. Чем точнее отверстие в устанавливаемой детали и чем чище его поверхность, тем меньше может быть конусность и тем лучше центрирует оправка. Меньший диаметр D конусной части В делается несколько меньше наименьшего возможного диаметра отверстия. Лыска А на левом конце оправки делается для более удобной установки на ней хомутика.

Центровыми отверстиями оправка устанавливается в центры станка. Обрабатываемая деталь держится на такой оправке только силой трения, поэтому должна быть насажена на нее достаточно плотно. Оправка вводится в деталь ударами молотка (медного или свинцового) или же при помощи специального пресса, причем предварительно оправку следует слегка смазать маслом.

Такого рода оправки можно применять только при легких работах. Основной недостаток этих оправок заключается в том, что положение детали на оправке зависит от действительного диаметра
отверстия. Указанное обстоятельство исключает возможность применения этих оправок, если обработка деталей производится по упорам.

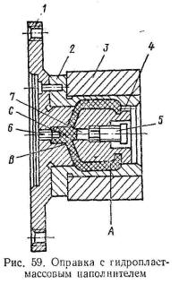
оправка с гидропластмыссовым наполнителем
Такого недостатка не имеет оправка, изображенная на рис. 58, б, так как деталь, упираясь в буртик, занимает вполне определенное положение на оправке. Деталь надевается на такую оправку и удерживается на ней трением, возникающим на торцах при навертывании гайки 2. Шайба 1 имеет вырез; гайка 2 делается меньше диаметра отверстия. Поэтому, чтобы снять деталь с оправки, достаточно отвернуть гайку на один-два оборота и убрать шайбу. Недостаток таких оправок — неточность центрирования, вызываемая наличием зазора между деталью и оправкой. Использование оправок по рис. 58, а, б целесообразно при точности отверстий в устанавливаемых на них деталях не ниже 2-го класса.

При менее точных отверстиях применяют разжимные оправки различных конструкций. Одна из таких оправок цанговая показана на рис. 58, в. Цанга 4 представляет собой втулку с коническим отверстием и цилиндрической наружной поверхностью. Пружинящее свойство цанги обеспечивается продольными надрезами (по два, три, иногда четыре с каждой стороны), расположенными в чередующемся порядке. При завинчивании гайки 5 цанга, перемещаясь влево, расширяется, чем и достигается закрепление детали. Для снятия детали необходимо немного отвернуть гайку 5. После этого посредством гайки 3 цанга 4 может быть перемещена вправо настолько, что деталь снимается с оправки свободно.

Оправка с упругой оболочкой. Оправка (рис. 59) устроена и работает следующим образом. На корпус 1 оправки напрессована втулка 2, центрирующая и закрепляющая обрабатываемую деталь 3. Для этого на боковой поверхности корпуса 1 и на внутренней поверхности втулки сделаны выточки, образующие кольцевую полость А. Несколькими наклонными отверстиями В полость А соединена с камерой С Полость А, наклонные отверстия В и камера С заполнены гидропластом (на рисунке сетчатая штриховка). При вращении винта 5 плунжер 7 перемещается влево, выдавливая (через отверстия В) гидропласт в полость А. Диаметр тонкой стенки втулки 2 при этом увеличивается, а деталь 3 центрируется и закрепляется достаточно прочно для ее обработки. Перемещение плунжера 7 ограничивается винтовым упором 6.

шпиндельная разжимная оправка

Регулировка упора производится по втулке-калибру, диаметр отверстия в которой несколько больше наибольшего предельного диаметра отверстия в обрабатываемой детали. Пробка 4 закрывает отверстие, через которое выходит воздух при заливке в оправку расплавленного гидропласта. Посадка детали на оправку — движения или скользящая 2-го класса точности; точность центрирования—0,01—0,03 мм.

оправка для закрепления деталей за резьбовое отверстие

Шпиндельные оправки. При использовании оправки, показанной на рис. 60, обрабатываемая деталь закрепляется на разжимной части корпуса 1 оправки. Эта часть оправки имеет три надреза; разжим ее осуществляется под действием конической части болта 2, ввертываемого при помощи ключа в корпус 1 оправки. Конический хвост корпуса оправки входит в коническое гнездо шпинделя станка.

Оправки для закрепления за резьбовое отверстие. В самом простом случае для закрепления детали за резьбовое отверстие используется оправка (рис. 61, а), на резьбовую часть которой навертывается обрабатываемая деталь. За гладкую часть оправка закрепляется в трехкулачковом самоцентрирующем патроне. Недостаток такого способа закрепления деталей — затруднения при их снятии после обработки. Невелика и точность центрирования.

Оправка, изображенная на рис. 61, б, не имеет этого недостатка. На левом конце ее корпуса нарезана левая резьба с крупным шагом, охватываемая гайкой 1. Перед навертыванием на оправку обрабатываемой детали 2 гайка должна быть плотно прижата к заплечику, имеющемуся на корпусе оправки. Чтобы без труда свернуть обработанную деталь, достаточно немного освободить гайку 1. В этом случае заплечик на корпусе оправки обеспечивает постоянное положение в осевом направлении гайки 1, а следовательно, и обрабатываемой детали 2. Следует учитывать, что точность центрирования по резьбе всегда низкая.

закрепление детали на оправке
Общие замечания об обработке на оправках. Чем проще конструкция оправки, тем точнее (в отношении концентричности) получаются обработанные с ее помощью детали. Лучшая точность центрирования самой оправки на станке свойственна центровым оправкам по сравнению со шпиндельными.

При обработке длинных деталей необходимо применять центровые оправки,причем в то время, когда производится обтачивание детали (при автоматической подаче резца), надо подготовлять к обработке следующую деталь. При таком способе работы необходимо иметь две оправки, чем достигается иногда значительная экономия вспомогательного времени. При шпиндельных оправках так работать, очевидно, нельзя. С другой стороны, установка детали на шпиндельные оправки удобнее, и закрепление на них детали осуществляется быстрее, чем на центровых.

Применение при работе на оправках поводкового патрона. При обработке на оправке детали большого диаметра и особенно при большом сечении снимаемой стружки возможно провертывание детали на оправке. Во избежание этого следует пользоваться приемом, изображенным на рис. 62. В этом случае вращение шпинделя передается обрабатываемой детали не за счет трения ее на оправке, а поводком патрона.

Комментарии и вопросы:

Комментариев пока нет, но ваш может быть первым.
Разметить комментарий или вопрос

Связанные товары

Код товара: 1616
Нет в наличии
Токарно-винторезный станок DMTG CKE6136Z/750 с ЧПУ Fanuc
Ø обработки над станиной 360 
Ø обработки над супортом 200 
РМЦ750 
Ø отверстия шпинделя 50 
Макс. обороты 2500 
Мощность 5.50 кВт
Напряжение380В 
Масса1600 кг
Код товара: 41478
Нет в наличии
Фальцепрокатный станок METAL MASTER MLC-12R
Толщина гиба1.2 мм
Мощность 1.50 кВт
Масса220 кг
Код товара: 11798
Нет в наличии
Станок для заточки сверл Optimum GQ-D13
Ø затачиваемого инструмента3-13 мм
Ø шлифовального круга78 мм
Макс. обороты 4200 
Мощность 0.08 кВт
Напряжение220В 
Масса3 кг
9 690 p
Код товара: 2212
Нет в наличии
Горизонтально-расточной станок ИЗТС ИСН2А637ПФ4
Длина стола1800 мм
Ширина стола1600 мм
Конус шпинделяSK 50 
Ø отверстия шпинделя 150 
Мощность 28.00 кВт
Напряжение380В 
Масса36850 кг
Код товара: 59478
Нет в наличии
Четырехкулачковый токарный патрон OPTIMUM Camlock, литой ?200 мм DIN ISO 702-2 № 5 (Camlock), шт
Четырехкулачковый токарный патрон OPTIMUM Camlock, литой ?200 мм DIN ISO 702-2 № 5 (Camlock), шт
27 795 p
Код товара: 35213
Нет в наличии
Вертикально-фрезерный станок FSS350MRNC с УЦИ
Длина стола1250 мм
Ширина стола315 мм
Конус шпинделяISO50 
Мощность 5.50 кВт
Напряжение380В 
Код товара: 9604
Нет в наличии
Гидравлический листогибочный станок MBH-6325
Ширина гиба2500 мм
Номинальное усилие, кН630 кН
Мощность 5.50 кВт
Напряжение380В 
Масса4000 кг
2 070 334 p
Код товара: 181
Нет в наличии
Токарно-винторезный станок 16ВТ20 П-21
Ø обработки над станиной 500 
Ø обработки над супортом 275 
РМЦ1000 
Ø отверстия шпинделя 55 
Мощность 11.00 кВт
Напряжение380В 
Масса3000 кг
2 688 345 p
Код товара: 11551
Нет в наличии
Плоскошлифовальный станок 3Л722В
Ø шлифовального круга450 мм
Длина стола1250 мм
Ширина стола320 мм
Мощность 11.00 кВт
Напряжение380В 
Масса7000 кг
Код товара: 50151
853 279 p
В наличии 1 шт.
Станок точильно-шлифовальный ТШ-4М.35 с пылесосом ПЦ-750/У
Ø шлифовального круга600 мм
Макс. обороты 1000 
Мощность 11.00 кВт
Напряжение380В 
Масса620 кг
767 951 p
Код товара: 59261
Нет в наличии
Под заказ. 60 дней.
Лазерный станок для резки металла с труборезом LF3015LNR с автофокусом (Raycus 2кВт)
Мощность лазера, Вт2000 
Лазерный источникRaycus 
Размер стола3000х1500 
Длина стола3000 мм
Ширина стола1500 мм
Макс. Ø трубы220 мм
Макс. длина трубы6000 мм
Максимальный вес трубы, кг200 кг
Мощность 22.00 кВт
Напряжение380В 
Масса6500 кг
Код товара: 41543
Нет в наличии
Гидравлический гибочный пресс Durma AD-R 30175
Ширина гиба3050 мм
Номинальное усилие, кН1750 кН
Мощность 18.50 кВт
Напряжение380В 
Масса11250 кг
Вверх